Skip to main content

忙しい方のためのAppleニュース
海外のApple関連ニュースを翻訳してお届け


次期AirPods、ジェスチャー認識が高精度化・高速化か

  • From 
    AppleInsider

AppleがAirPodsのジェスチャー操作を抜本的に見直す可能性が出てきました。
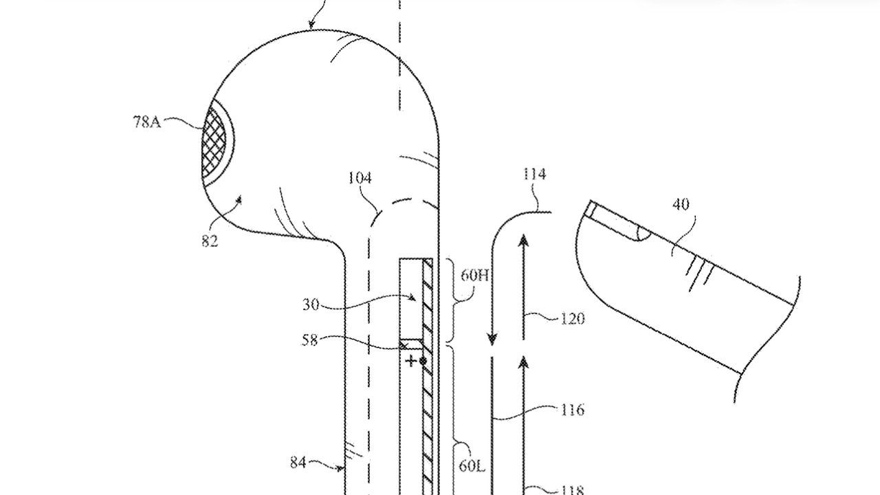
新たな研究と特許申請によると、現在の独立した検知回路を廃止し、RFアンテナを利用してジェスチャーを感知する新技術を開発している模様です。

これは「アンテナインピーダンス測定に基づくジェスチャー検出」と題された新たな特許申請で明らかになりました。
Appleは、現在のAirPodsが採用するタッチ表面による方式では不十分であると考えており、将来的にはアンテナ自体がユーザーのタッチを直接検出するようになるかもしれません。

より洗練された操作体験の提供がAppleの狙いと見られます。

2026-01-09

AIによる翻訳/要約をしています。正確な情報はオリジナルサイトにてご確認ください。
このサイトはアフィリエイト広告(Amazonアソシエイト含む)を掲載しています。

Apple関連のニュースはこちら